特點說明:
本閥適用于高硬度的顆粒介質或有軟顆粒但又有腐蝕性的介質管道上作啟閉之用。公稱壓力1.6MPa. 適應溫度≤200。C. 氣源壓力0.6-0.8MPa,
與介質接觸的部分均為結構陶瓷材料.其化學穩定性及硬度極高(洛氏硬度HRC90). 僅次于金剛石。因此.本閥具有極高的耐磨損、耐腐蝕、耐沖蝕性能且隔熱性好、熱膨脹小。
球體采用先進研磨設備及工藝制造.球園度精度高.表面質量好與閥座對研后,利用Zr02陶瓷的自潤滑性,可取得很好的密封性能。
陶瓷良好的耐磨性,讓本閥經久耐用,可靠性極高,使用壽命長.是鈦合金閥和蒙乃爾閥的2-4倍。
| 應用規范 | ||
| 設計與制造 | GB/T 12224 | |
| 連接端尺寸 | 結構-長度 | GB/T 12221 |
| 法蘭尺寸 | GB/T 9113 | |
| 檢驗與試驗 | GB/T 9092 | |
| 材料 | 碳鋼 | GB/T 12229 |
| 不銹鋼 | GB/T 12230 | |
| 標志 | GB/T 12220 | |
| 供貨 | GB/T 12252 | |
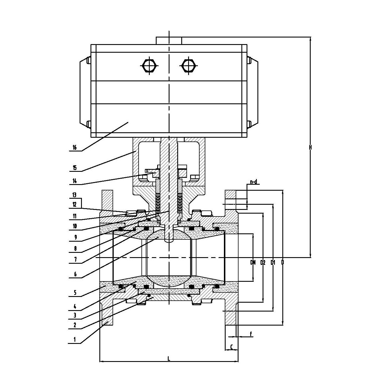
| 主要尺寸 | ||||||||
| DN | L | D | D1 | D2 | C | f | H | n-d |
| 15 | 130 | 95 | 65 | 46 | 14 | 2 | 170 | 4-?14 |
| 20 | 130 | 105 | 75 | 56 | 16 | 2 | 175 | 4-?14 |
| 25 | 140 | 115 | 85 | 65 | 16 | 2 | 185 | 4-?14 |
| 32 | 165 | 140 | 100 | 76 | 18 | 2 | 215 | 4-?18 |
| 40 | 165 | 150 | 110 | 84 | 18 | 2 | 230 | 4-?18 |
| 50 | 203 | 165 | 125 | 99 | 20 | 2 | 240 | 4-?18 |
| 65 | 222 | 185 | 145 | 118 | 20 | 2 | 265 | 4-?18 |
| 80 | 241 | 200 | 160 | 132 | 20 | 2 | 300 | 8-?18 |
| 100 | 305 | 220 | 180 | 156 | 22 | 2 | 355 | 8-?18 |
| 125 | 356 | 250 | 210 | 184 | 22 | 2 | 420 | 8-?18 |
| 150 | 394 | 285 | 240 | 211 | 24 | 2 | 495 | 8-?22 |
| 200 | 457 | 340 | 295 | 266 | 24 | 2 | 570 | 8-?22 |
| 250 | 533 | 395 | 350 | 319 | 26 | 2 | 650 | 12-?22 |