用途性能:本產品是我公司高新技術產品,該產品廣泛用于電力、石化、冶金、建材等工藝控制系統的干渣、干灰、水渣、水灰,使用溫度≤180℃,最大顆粒物直徑≤50mm的輸送系統中防止介質倒流裝置。
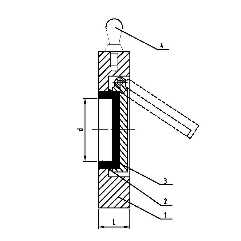
工作原理:該止回閥的防止介質倒流的自動閥門,流體從進口側向出口側,止回閥的閥瓣在流體壓力的作用下開啟,截止倒流時靠閥瓣的自重自動關閉,以防止介質倒流,保護設備的正常運行。該產品的閥瓣、閥座密封面的材料均采用結構陶瓷制造,提高了閥門在耐磨性與耐沖刷性,大大的延長了使用壽命,該產品在閥座上設有防止沖擊的結構,以防止閥瓣的沖擊性。
| 主要連接尺寸 | |||||||
| DN | d | L | D | ||||
| I型 | II型 | PN10 | PN16 | PN25 | PN40 | ||
| 50 | 25 | 15 | 22 | 109 | 109 | 109 | 109 |
| 65 | 38 | 15 | 22 | 129 | 129 | 129 | 129 |
| 80 | 46 | 15 | 22 | 144 | 144 | 144 | 144 |
| 100 | 72 | 15 | 24 | 164 | 164 | 170 | 170 |
| 125 | 95 | 16 | 26 | 194 | 194 | 186 | 186 |
| 150 | 114 | 19 | 29 | 221 | 221 | 226 | 226 |
| 200 | 140 | 29 | 43 | 275 | 275 | 266 | 293 |
| 250 | 188 | 29 | 43 | 331 | 331 | 343 | 355 |
| 300 | 216 | 38 | 50 | 386 | 386 | 403 | 420 |
| 350 | 203 | 41 | 52 | 446 | 446 | 460 | 477 |
| 400 | 305 | 51 | 62 | 498 | 498 | 517 | 549 |
| 450 | 356 | 51 | 62 | 558 | 558 | 567 | 574 |
| 500 | 406 | 65 | 80 | 620 | 620 | 627 | 631 |
| 600 | 482 | 70 | 90 | 737 | 737 | 734 | 750 |
標簽:
陶瓷止回閥